Bounded Budget Connection (BBC) Games or How to make friends and influence people, on a budget

Motivated by applications in social networks, peer-to-peer and overlay networks, we define and study the Bounded Budget Connection (BBC) game - we have a collection of n players or nodes each of whom has a budget for purchasing links; each link has a…

Authors: Nikolaos Laoutaris, Laura J. Poplawski, Rajmohan Rajaraman

Bounded Budget Connection (BBC) Games or How to make friends and   influence people, on a budget
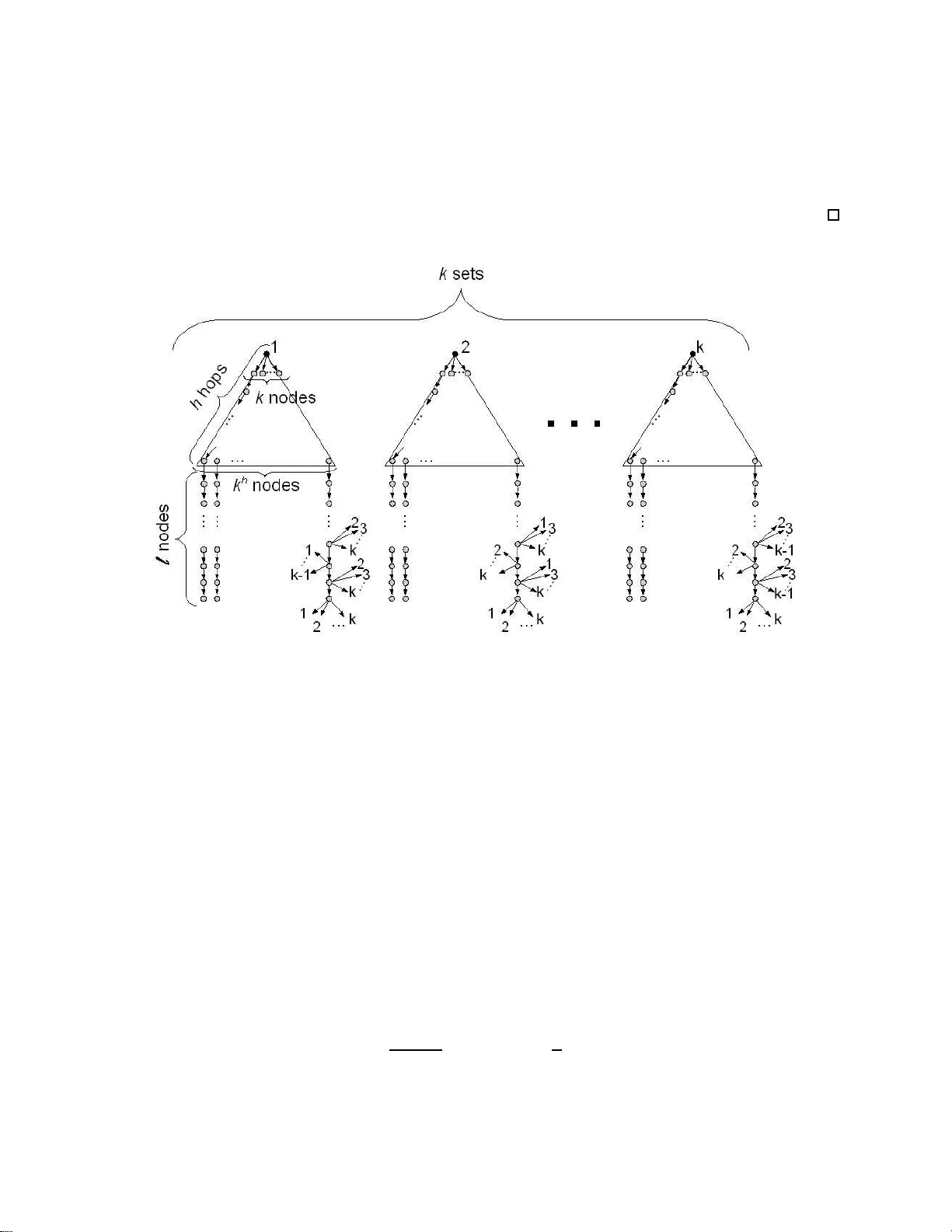
Bounded Budget Connection (BBC) Games or Ho w to mak e friends and influence p eople, on a budget Nik olaos Laoutaris ∗ Laura J. P oplaw ski †k Ra jmoha n Ra jara man ‡k Ra vi Sundaram §k Shang-Hua T eng ¶ Abstract Motiv ated by a p p lica tions in social netw orks, p eer-to-p eer and o verl ay netw orks, we define and study the Bounde d Budget Conne ction (BBC) game - w e hav e a collection of n p la yers or n o des each of whom has a budget for purchasing links; each link has a cost as w ell as a length and each no de has a set of preference w eights for eac h of the remaining no des; the ob jectiv e of eac h no de is to use its budget to b u y a set of outgoing links so as to min imize its sum of preference-weigh ted distances t o the remaining no des. W e stu dy the structural and complexity-theoretic p roperties of pure Nash equilibria in BBC games. W e sho w that determining the existence of a pure Nash equilibrium in general BBC games is NP-hard. W e counterbala n ce t h is result by considering a natural vari ant, fractional BBC games - where it is p ermitted to b uy fractions of links - and sho w th at a pure N ash equilibrium alwa ys exists in such games. A ma jor fo cu s is the stud y of ( n, k ) -uniform BB C games - those in which all link costs, link lengths and preference w eights are equal (to 1) and all bu dgets are equal (to k ) . W e sho w th at a pure Nash equilibrium or stable graph exists for all ( n, k )-un if orm BBC games an d th at all stable graphs are essentia lly fair (i.e. all no des hav e similar costs). W e provide an explicit construction of a family of stable graphs that spans the sp ectrum from minimum total so cial cost to maximum total so cia l cost. T o b e precise we show that th at th e p rice of stabilit y is Θ(1) and the price of anarch y is Ω( q n/k log k n ) and O ( q n log k n ). 1 W e also study a special family of r e gular graphs, the class of Ab elian Ca yley graphs, in which all n odes imitate the “same” buying pattern, and show that if n is sufficien tly large no suc h regular graph can b e a pu re Nash equilibrium. This has the implication that, as the designer of a P2P or ov erlay netw ork, one has to give up stability in order to get the simplicit y and conv enience of regularit y . W e analyze best-resp onse w alks on the configuration space defined by the uniform game, and sho w that starting from an y initial confi gu ration, strong connectivity is reac hed within n 2 rounds. W e demonstrate that conv ergence t o a pure Nash equilibrium is not guaran teed by demonstrating th e existence of an explicit lo op which also prov es that even u nifor m BBC games are not p otentia l games. Lastly , we extend our results to the case where each no de seeks to minimize its m ax im um distance to the other nodes. ∗ T elefonica R ese arch, nikos@tid.es † ljp@ccs.neu.edu ‡ rra j@ccs.neu.edu § k o ods@ccs.neu.edu ¶ Boston Universit y , steng@cs.bu.edu, supp orted by NSF ITR CCR-0325630 k Northeastern Universit y , partially suppor te d by NSF grant CCF- 063 5119 1 Observe that our bounds for the pri ce of anarch y are essentially tight when k is a constan t. 1 1 In tro duction 1.1 Motiv ation Y ou are the campa ig n manager for a Pres iden tial c a ndidate and it is the start of what will b e a lo ng and grueling series of primaries and caucus es to determine your party’s nominee. Y ou hav e a limited budget for the c a mpaign, in terms of mo ney and time. And, you need to understand the (or ganized as well as informal) net works o f connections a nd influence that exist within the natio n to decide how b est to allo cate your scar ce resource s so as to have the optimal impact on voters. Many o f the play ers and p olitical op eratives you choose to reach out to are not only being courted b y other candidates but also have their own ambitions (maybe at the regio nal or town levels) and agendas. Y our actions affect and, in turn, ar e affected by the actions of the others, voters and candidates, in the race. In the world o f ever shifting p olitical loy alties y o u need to understand the calculus of a llegiance: what should you do and who should you ally with so as to effectively counteract and neutraliz e the strategies of your opp onen ts while maximizing your chances of winning the required votes? Y ou a re the founder of a so cial netw ork ing website, such as a frie nd finder site or a site where p eople trade timeshares o n v acation ho mes. Y our income from the site depends on how well peo ple are connected to o ne another. The more ea s ily they can find other s to b efriend o r trade timeshares with, the mor e mo ney you make. People hav e natural bounds on t heir time and cognitiv e resources and hence are limited in the n umber of pe o ple they can maintain direct ties with (also known as the Dunbar limit in the so ciology literature). They must rely on friends of friends, and friends of friends of fr ie nds and so on to reach other peo ple in the netw ork . It is no s urprise that you are concerned with understanding how the structure of net works generated by individua ls expr essing their natural preferences and aversions will affect your ability to monetize the netw o r k. Could it be p ossible that left to their own devices p eople will gener a te p oor ly connected net works? Y ou are designing the next k ille r application, the next Napster, the nex t Ka zaa, the next big thing in the world o f unstructured p eer-to-p eer file shar ing netw ork s or ov erlay netw orks . Y o u know that p eople will hack the op en sour ce reference implementation of the client to cr eate no des that will b eha ve strategically , selecting their first ho p neigh b ors to selfishly optimize their utilit y . In unstructured P2P file sha ring no des employ s coped flo o ding or multiple par allel r andom walks to reach o ther no des and thus have to adhere to small out-degrees to pre vent clogg ing. F or analo gous re a sons of scalability , ov erlay netw or ks to o requir e constraints on the out-deg ree of no des s o as to reduce the num be r o f links that need monitoring and to reduce the amount of link state informa tion tha t needs to b e dissemina ted. Y o u know that the success of your killer application depends critica lly on the connectedness of the net work. Every no de will indep endently attempt to minimize its average latency to the subset of no des of interest, but will this lead to an op erating p oin t that is close to the so cial o ptim um or can it lead to an anarchic situation ch a racterized by an impov er ishmen t of connectivity? In this pa p er we define a nd study a g raph-theoretic game called the Bounded Budget Connection (BBC) game that abstracts ea c h of the three s ituations ab o ve where strateg ic no des acting under a c ost budget form connections (friends) w ith a view to o ptimizing their proximit y (influence) to the no des of in ter est. This is a big problem spa ce that allows for a v ariety of models to captur e differen t situations. In addition to differen t notions of connection cost and proximit y e.g ., fractional a nd in tegr al, symmetric and asy mmetric, uniform and nonuniform, metric s paces, etc., o ne can also consider a v ariety of solution and equilibr ium concepts (other than Nash equilibria) as well as the dynamics of the re s ultan t complex systems. There a re many earlier works that touch on similar issues as detailed in subsection 1.3. W e belie v e the budget constra in t is an impor tan t real-world restriction and consider our pape r to be a pre liminary step tow a rds understanding and character iz ing the rich and elegant structures that ex ist in this domain. 1.2 Our R esults T o c a pture the ab o ve scenario s we p osit the following Bounded Budget Connectio n (BBC) ga me - we have a collection o f n play ers or no des eac h of whom has a budget for purchasing links; each link has a c o st a s well 2 as a leng th a nd eac h no de has a set of prefer ence weights for each of the remaining no des; the ob jective of each no de is to use its budg et to buy a set of outgoing links from itself so a s to minimize its s um o f preference weigh ted distances to the remaining nodes. Our goal in this pap er is to study the structural and complexit y- theo retic prop erties of pure Nash equi- libria. W e first present our results on nonunif o rm BBC games, the most genera l kind o f B BC games. Nonunif o rm BBC games are b est explained by defining their complement. Unifor m BBC g a mes ar e those in which all link costs are equa l, all link lengths are equa l, all preference weigh ts are equal and a ll budgets are equal. Nonuniform BB C games a re BBC games whic h are not uniform BBC games. • W e sho w that determining the existence of a pur e Nash equilibrium in nonuniform BBC games is NP-hard. T o be precise, we can show the NP-hardnes s of determining the existence of a pure Nash equilibrium when link costs, link lengths o r preference w eig hts a re nonuniform 2 • W e counterbalance this NP- ha rdness result by showing that in all fractional BBC games a pur e Nash equilibrium always exists. A frac tio nal BBC ga me is o ne in which it is p ermitted to buy fractions of link s and is a natur al “fractionaliz a tion” of the integral version. F r a ctional BBC games capture scenario s in which no des use links o nly for a fraction of the time, instead of a ll the time, e.g., pa cketized netw orks . Next, we pr esen t our results on uniform BBC games. W e can assume, without loss of generality , that a ll link weigh ts, link le ng ths and pr eference weigh ts a r e equal to 1 and a ll budgets a re equa l to k , thus allowing us to talk of ( n, k )-uniform BBC ga mes. • W e show that a pure Nash equilibr ium or stable g raph exis ts for all ( n, k )-uniform BBC ga mes and that all s ta ble gra phs are essentially fair (i.e. all no des hav e similar costs). W e provide an explicit construction o f a family of stable gra phs that spa ns the sp ectrum from minimum total so cial cost to maximum total so cial co s t. T o b e prec ise we show that that the pr ice o f sta bilit y is Θ(1) and the price of anarch y is Ω( q n/k log k n ) and O ( q n log k n ). Observe that our b ounds for the pr ice of a narc hy are essentially tight when k is a constant. • Inspired b y the existence of stable g raphs in the uniform cas e , w e next tackle the que s tion of finding stable g raphs that ar e “regular ” in a s tr ong sense (to b e defined subsequently). Such gra phs, if they existed, would hav e a pplications to overla y and P 2P net works. Unfortunately we are able to s ho w that even the class of Ab elian Cayley gr aphs (a strict sup erset of “r egular” graphs) do es not p ossess a stable graph. In other words, sta bilit y and regular it y are mu tua lly incompatible. This ha s the implication that, a s the desig ner of a P2P or ov erlay netw or k, one has to give up stability in or der to g et the simplicity and conv enience of regula rit y . Lastly , w e consider the dynamics of bes t resp onse mo ves. • W e show tha t in any ( n, k )-uniform BBC game, a (suitably defined and en tir e ly natura l) b est resp onse walk co n verges to a s tr ongly connected configura tio n within n 2 steps. • W e show that uniform BBC g ames ar e not (ordinal) po ten tial g ames by presenting a lo op for b est resp onse walks. This serves to underscor e the imp ortance of our explicit constructions of stable gr aphs, as it rules out the p ossibilit y o f demons trating existence of Nash eq uilibria thro ugh suitably defined po ten tial functions. W e end by showing that there are analogous results fo r the case wher e the cost function is the maximum (instead of sum) of the w eighted distances . 2 W e b eliev e that this question is not j ust NP-hard but i n fact Σ 2 -complete. F ur th er, w e also conjecture that, in fact, pure Nash equilibri a do exist in all cases where only the budgets are non-unif orm. 3 1.3 Related W ork Notions of gr oup and netw ork for mation a long with concepts of influence have b een inv estiga ted by a num b er of different commun ities star ting with r esearchers in ec o nomics a nd game theory and follow ed by w or k in combinatorial optimization and computer science. The work of [1 7 ] mo deled and analyzed the stability of net works when no des themselves cho ose to form or sever links ; their mo del is different fro m o urs in that they studied different stylized mo dels that included pro duction and allo cation functions under the (rela tiv ely weak) c o ncept o f pair wise stability , along with side payments. [5] s tudy a mo del of dir ected netw o rk forma tion where no des incur costs based o n the num b er of incoming links. In [13], where they defined and studied a similar netw o rk cr eation game, the authors do no t have a fixed budget o f directed link s for the no des; instead they c o nsider undirected links, and the no des optimize a cos t which is the sum of the num b er of edges, sca led by a parameter α > 0 , and the sum of dista nc e s to the rest of the no des. They present several results o n the price of anarchy , which is the ratio of the cost of the worst-ca s e Nash equilibrium to the so cial optimum cost [21]. F urther r esults in this direction ar e obtained in [1] a nd [1 0]. [15] extends this model to the case where each node is only interested in connecting to a subset o f the other no des. [11] is similar to [13] in that they imp ose a cost for the purc has e o f a link rather tha n a fixed budget, ho wev er they consider a sto c hastic mo del and asso ciated small-world effects. In [24] a v ariant is studied, in which the nodes are embedded in a metric space a nd the distance comp onent of the cost is replaced by the stretch with resp ect to the metric. They obtain tight bo unds on the price of ana rc hy and show that the pro blem of dec iding the existence o f pure Nash equilibr ia is NP-har d. Netw o rk formation under the requirement for bilater al consent for building links is studied in [9]. [12] focuses on a similar netw or k creatio n game restricted to a bipartite graph, with nodes re pr esen ting buy er s and sellers. Our mo del follows directly in the tradition of [7, 22] where they pre sen t exp erimental studies of netw ork formatio n ga mes inv olving no n-unit link lengths. Net work formation games hav e also b een studied in the context o f Internet inter-domain ro uting. A coalitional game- theoretic problem mo deling o f BGP is intro duced in [26] and studied further in [23]. A fractional version is s tudied in [16]. Also r elated is the work on designing str ategy-pro of mec ha nis ms for BGP [1 4] as well as the r e cen t work on stra tegic netw or k formatio n thro ugh AS-le v el contracts [4]. [1 8 ] consider a co n tracts-ba sed mo del of net work formation where link s do not hav e predefined co sts but a re sub ject to negotiation and no des attempt to minimize incoming tr affic by o btaining comp ensation in r eturn. Combinatorial optimization as pects are explo red in [19, 20] where the go al is to pick an initial set in a sto c hastic mo del with maximal expected influence. This model is extended further in [6] to a co mpetitive setting within the sto c has tic fra mew ork where different play er s comp ete (sequentially) to ma ximize their exp ected influence. 2 Problem Definition A Bounde d Budget Conne ction game (hencefo r th, a BBC game) is sp ecified by a tuple h V , w, c, ℓ, b i , where V is a set of no des, w : V × V → Z , c : V × V → Z , ℓ : V × V → Z , and b : V → Z a re functions. F or any u , v ∈ V , w ( u, v ) indicates u ’s prefere nc e fo r communicating with v , c ( u, v ) deno tes the co st of directly linking u to v , a nd ℓ ( u, v ) denotes the leng th of the link ( u, v ), if established. F or any node u ∈ V , b ( u ), sp ecifies the budget u has for establishing outgoing directed links: the sum of the c o sts o f the links u establishes should no t exceed b ( u ). A s trategy for no de u is a subset S u of { ( u, v ) : v ∈ V } such that P v :( u,v ) ∈ S u c ( u, v ) ≤ b ( u ). Let S u denote a strateg y chosen by no de u and let S = { S u : u ∈ V } denote the collectio n o f str ategies. The net work formed b y S is simply the directed graph G ( S ) = ( V , E ) wher e E = S u S u . The utility o f a no de u in G ( S ) is giv en by − P v w ( u, v ) d ( u, v ), where d ( u, v ) is the shortest path fr o m u to v in G ( S ) a ccording to the lengths giv en by ℓ . F or conv enience, w e assume that if no path exists in G ( S ) from u to v , then d ( u, v ) is g iv en b y some large in teger M ≫ n max u,v ℓ ( u, v ); we re fer to M as the disc onne ction p en alty . F ollowing the standard g ame-theoretic terminology , we say that a strategy selec tion S = { S u : u ∈ V } is stable if it is a pure Nash equilibr ium for the BBC ga me; in par ticular, for ea c h u , S u is an optimal stra tegy for u ass uming that the s trategy for every v 6 = u is fixed as in S . 4 A ma jor fo cus of our work is on uniform games , in which (a) c ( u, v ) is iden tical for all u , v ; (b) w ( u, v ) is identical for all u, v ; (c) ℓ ( u, v ) is iden tical for all u , v ; and (d) b ( u ) is ident ica l for all u ∈ V . In a uniform game, we may a ssume without lo ss of generality that c ( u, v ) = w ( u, v ) = ℓ ( u, v ) = 1 for all u, v , and b ( u ) = k , for all u ∈ V , for some in teg er k . W e refer to the preceding unifor m ga me as an ( n, k )-uniform g ame wher e n = | V | . W e refer to BBC g a mes that are no t uniform as n on-uniform games. 3 Non uniform Games In this sec tion we s ho w there exist instances of non-unifor m BB C games that do not hav e a pure Nas h equilbrium. F urthermore, we prove that it is NP- hard to determine whether a given instance of a non- uniform BBC game has a pure Nash equilibrium. This motiv ates us to consider a natural v ariant of BBC games, which we call fr actional BBC games , in which each no de can select fr actions of links, whose total cost is within the no de budget. W e show that pure Nash equilibria alw ays exist for fractiona l non-uniform BBC games. 3.1 Nonexistence of pure Nash equilibria and NP-hardness Theorem 1. F or any n ≥ 11 , k ≥ 1 , ther e exists a nonuniform BBC game with n no des, nonuniform pr efer enc es, uniform link c osts, uniform link lengths, and a uniform budget of k for every n o de, such that the game has no pur e N ash e quilibrium. Pr o of. W e first c o nstruct a BBC game G with n = 11, k = 1, uniform costs, nonuniform leng ths, and nonuni- form preferences, such that G has no pure Nash equilibr ium. W e then show how to drop the nonuniformit y in link le ngths and also e x tend the claim to a rbitrary v alues o f n and k . The basic idea is to enco de the pay-off str ucture of a “matching p ennies” game [25]. T o co nstruct such an instance w e define a gadget (see Fig ure 1 for an illustration). Our gadg e t is made out of tw o su b-gad gets , sub-gadget(0) a nd sub-ga dget(1). F or i ∈ { 0 , 1 } , sub-gadg et( i ) consis ts of five no des: a central one ( iC ), tw o bo ttom ones (left, iLB and right, i RB ), and t wo top ones (left, iLT and right, iR T ). W e set the length o f every link shown in Figure 1 to b e 1, while the length of every omitted link is L , where L is chosen suita bly large. W e a lso have one additional no de X (not depicted in the fig ure) and set the length of (0 LB , X ), (0 RB , X ), (1 L B , X ), and (1 RB , X ) to b e 1 and that of all other links to X to be L . 0L T 0R T 1L T 1R T 0LB ORB 1LB 1RB 0C 1C Figure 1: Ga dget - consisting of tw o subgadgets Having defined the no des a nd link le ngths, it remains to define the preferences . (Recall that link cos ts are a ll uniform and the budget for each no de is 1.) F or every solid e dg e ( u , v ) in Figure 1 , we set w ( u, v ) to be 1. In addition, we set w (0 C, 1 C ), and w (1 C, 0 C ) to be 1. Finally , w e set w (0 LB , 0 RT ), w (0 RB , 0 L T ), w (1 L B , 1 RT ), and w (1 R B , 1 LT ) to b e 2, and w ( u, X ) to b e 1 for each u in { 0 LB , 0 R B , 1 LB , 1 R B } . W e now establish that the instance constructed has no pure Nash equilibrium. Let us co nsider the cas e when the ac tio n fo r no de 0 C is link (0 C , 0 LT ). Then, in a stable network, 0 RB sets its link to 0 C since it 5 has a higher pr eference for 0 LT than X , which implies that 1 C sets its link to 1 RT and 1 RB s e ts its link to X . This means that 0 C do es not hav e a path to 1 C in the netw ork and will switch its link to 0 R T to improv e its utility . Thus, ther e is no pure Na sh equilibrium that co n tains the link (0 C , 0 LT ). The o ther case with the link (0 C, 1 LT ) is symmetric. W e now extend the result to unifor m leng ths by mo difying the preferences. The preferences w ( u, v ) wher e u is a top no de remain the same. The “switch” from the cen tra l no de v of a s ub-gadget to a top no de u of the same sub-g adget can be implemented by setting w ( v, u ) to be ζ > 0, w ( v, v ′ ) to b e ξ > 0, with ξ < ζ , if v ′ is the cen tral node of the o ther ga dget, and to b e 0 otherwis e . Implemen ting the switc h fr om a bo ttom no de v to either the central node u of the same sub-ga dget, o r to no de X is a little mo re in volved. L et’s set w ( v, y ) = α , w ( v , u ) = β , and w ( v , v ′ ) = γ , where v ′ denotes v ’s cr oss-ov er node at the top of the s ame sub-gadge t. If M denotes the disconnection p enalty we enfor ce the following inequalities: α > γ , α > β , and α · ( M − 1) < β · ( M − 1) + γ · ( M − 2). The first inequality guarantees that a b ottom no de will never e s tablish a dir e ct link to its cr oss-ov er no de at the top of the same sub-gadget. The sec ond one guar an tees that if the link from the central no de to the cross-over do es not exist, then the b ottom node will connect to X . The last inequalit y gua ran tees that if the link from the central no de to the cro ss-o ver no de e x ists, the b ottom no de will connect to the central no de. The thr e e inequalities can b e join tly sa tisfied by picking p ositiv es γ , ǫ such that ǫ < M − 2 M − 1 · γ , and setting β = γ + ǫ and α = β + M − 2 M − 1 · γ − ǫ . This completes the pro of for n = 11 and k = 1 . The r esult easily extends to n > 11 or k ≥ 2 by just forcing all o f the remaining links to connect to s pecific no des, using appropriate preferences. Theorem 2. It is NP-har d to determine whether a given ins t anc e of the non-u nifo rm BBC game has a pure Nash e quilibrium. Pr o of. The pro of is b y a reductio n from 3SA T. Let φ b e a 3SA T form ula with n v ar iables and m clauses. W e c reate a non-uniform BBC instance a s follows. F or each v ariable x i in φ , we intro duce 3 no des: a variable no de X i , and tw o trut h no des X iT and X iF . F or ea ch claus e c j , we introduce a clause no de K j and intermediate no des I j 1 , I j 2 , and I j 3 , one for eac h of the three litera ls in the clause. W e also hav e tw o additional no des S and T a nd a gadg et G consis ting of the no des illustrated in Figure 1. O ur co nstruction is depicted in Figure 2. Figure 2: Co nstruction to prov e NP- hardness of pure Nash Equilibr ium detection F or all u , v in V , we s e t c ( u , v ) to be 1. The length o f e v ery link shown in Figure 2 is 1 a nd the length of ev er y other link is a la rge num b er L gr eater than the n umber o f no des; w e set the disconnection pena lt y M to be nL . The budget for each no de is 1, except for node S , which has a budget o f m . W e now define the preference s and the budgets. Let V denote the set of all nodes. F or each i , fo r all v , w ( X iT , v ) and w ( X iF , v ) are b oth 0; that is, the truth no des do not need to communicate with a n y node in the game. W e also set their budgets to 0. F or no de C i , we s et w ( X i , v ) to b e 1 for v ∈ { X iT , X iF } and 0 for a ll other v ; th us, X i equally prefers to communicate with X iT and X iF and with no other no de. The budget for X i is set to 1. Now co ns ider a cla use c j . F or each intermediate no de I j k , we set w ( I j k , v ) to b e 1 if v = X i and 0 otherwise. If the k th liter al of c j is x i , then for the intermediate no de I j k , we set w ( I j k , v ) to 1 for v = X iT and 0 for all other v ; else, we set w ( I j k , v ) to 1 for v = X iF and 0 for all other v . F or the clause no de K j , we set the preferences as follows. If x i is in clause K j , then w ( K j , X iT ) is 2; if x i is in clause K j , then w ( K j , X iF ) is 2; w ( K j , S ) is 1 a nd fo r all o ther v , w ( K j , v ) is 0. The budget for each clause and intermediate no de is 1. W e next consider the ga dg et G . The prefere nc e s a mong the top no des in the gadge t ar e iden tica l to that used in the pro of of Theorem 1. W e also hav e w (0 C, 1 C ) and w (1 C, 0 C ) to b e 2 m − 1, and w (0 C, v ) and w (1 C , v ) to b e 2 for e a c h intermediate node v . F or each bo ttom no de u in G , we set w ( u, v ) to b e 3 if v is 6 the cross -o ver top node in the subgadget, 2 is v is S , and 1 for T . The budg et for ea c h no de in the gadg et is 1. Finally , we consider nodes S and T . F or node S , w ( S, v ) = 1 if v is a cla use no de and 0 otherwise. No de S has a budget of m and no de T has a budget of 0. W e now show that φ is satisfiable if and only if the ab o ve BB C ga me has a pure Nas h equilibr ium. Suppo se φ is satisfiable. Consider a sa tisfying a ssignmen t for φ . If x i is true, we set the link from X i to X iT ; otherwise, we set the link from X i to X iF ; in either cas e, X i has attained its highest utility p ossible. The intermediate no des just link to their respe c tiv e v ariable no des and attain their highest utilit y . F or each clause c j , there exists a litera l in the claus e, say the k th literal, which is satisfied. If the litera l equals v aria ble x i , then the in termedia te no de I j k has a path to X iT through X i . So w e se t the link from the clause no de C j to I j k . A cla use no de prefers to communicate with thr ee of the truth no des but can communicate with at most one in any s ta ble netw ork owing to budge t constra in ts. F ur thermore, the three-ho p path achiev ed from the clause no de to a truth no de is the shortest p ossible, so ea c h clause no de ha s a lso attained its max im um utilit y . W e finally consider the no des in the gadget G . E ac h top no de sets its link to the only no de fo r which it has a preference. The tw o cent r al no des link to node S and achiev e their maximum utility p ossible since they prefer to hav e paths of length 3 to m of the intermediate no des over a path of length 3 to the other central no de. E ac h bo ttom no de links to the central no de in its subgadget and achieves its max im um utility given the other connections. Th us, the constructed net work is stable. If the B BC g ame has a pure Nash equilibr ium, then each of the central no des in the gadget G has to link to S s inc e the g adget by itself do es not hav e a pure Nash equilibr ium, b y the pro of of Theo rem 1. This o ccurs only if ea c h of the central nodes has a 3 -hop path to at least m intermediate no des. This in turn implies that ea c h clause no de ha s a link to an intermediate node. A clause no de links to a n intermediate no de only if the in termediate no de has a path either to a node X iT , where x i is in the clause, or to a no de X iF , where x i is in the claus e . This is b ecause if no intermediate no de for the clause has suc h a path, then the clause no de would link to S . This yields the following satisfying a ssignmen t for φ : se t x i to true if X i has a link to X iT , and false otherwise. In the ab ov e reduction, the budget function is nonunif o rm. By using additional no des, the reduction can be eas ily adapted to work where the budget of ea c h node is k , for k ≥ 2. 3.2 F ractional BB C games W e cons ider a natura l fractional version of the b o unded budg et connection g ame and pr o ve that a pure Nash equilibrium alwa ys exists. F ollowing the framework of Section 2, a fr actional BBC ga me is sp ecified by a tuple h V , w , c, ℓ , b i , where V is a set of no des, and w : V × V → Z , c : V × V → Z , ℓ : V × V → Z , and b : V → Z are functions. As b efore, w , c , ℓ , and b r e presen t the no de preference, link cost, link length, a nd budget functions, resp ectiv ely . In a fractional game, the strategy spac e for a no de u is { a u : V → R | P v a u ( v ) c ( u, v ) ≤ b ( u ) } . Let a = { a u : u ∈ V } denote a colle c tion of s trategies, one for each no de. W e now define the utility of each no de, g iv en an action for each no de. In BBC, the cost o f a no de is the preference-weighted s um of sho rtest path distances (based on link lengths) to the other no des in the netw o rk determined b y the no de actions. In the frac tio nal version, the natural eq uiv alent of the s ho rtest path is the cost of a minimum-cost unit flow in a flow netw o rk determined by the no de actions, wher e the costs are calculated using the link length function. W e also need to account fo r the case that it may not b e p ossible to send a unit flow fr om u to v in the flow netw ork; this is ana logous to the case in int eg ral BBC games in which there is no path from u to v . F o r a given s et of no de str a tegies a , we define the flow ne tw o rk G ( a ) as follows: for every pa ir of no des u , v , we hav e tw o links fro m u to v , one with ca pacit y a u ( v ) and length ℓ ( i, j ), and the other with capacity ∞ and le ngth M , where M is the eq uiv alent of the disc onne ction p enalty . The links of the second kind ensure that G ( a ) alw ays carrie s a unit flow. Let c ost uv ( a ) deno te the cost o f a minimum cost unit flow fro m u to v in G ( a ). Then, the utilit y of no de u under a equals − P v w ( u, v )cost uv ( a ). Theorem 3. Every instanc e of the fr actional b ounde d bu dg et c onne ction game has a pur e Nash e quilibrium. Pr o of. A game has a pure Nash equilibrium if the str ategy space of each play er is a compa ct, non- empt y , conv ex space, and the utility function of each play er u is contin uous on the stra tegy spac e of all play ers and quasi-concave in the str ategy spac e of u [25, Prop osition 2 0.3]. 7 The strategy space of each play er u is simply the convex po lytope given by { P v a u ( v ) ≤ b ( u ) } . It is clearly compact, non-empt y , and con vex. The contin uity of the utilit y function is also clear . It remains to prov e that the utilit y function o f each play er is quasi-concave in the str ategy space of the play er . Since the utility function is merely the negative of the c o st, we will show that the cost of the min-cost flow is a q ua si-con vex function. Consider t wo stra tegies a u and b u of the player u , given fixed strateg ies o f all other players. Let a denote the strategy-tuple for a u and b for b u . Fix a destination v . Suppo se there exists a unit flow f a from u to v in G ( a ) and a unit flow f b from u to v in G ( b ). Giv en any λ ∈ [0 , 1], co nsider the s trategy c u = λa u + (1 − λ ) b u for player u . W e define the unit flow f c from u to v as follows. F or a n y edg e e = ( x, y ), we set f c ( e ) = λf a ( e ) + (1 − λ ) f b ( e ). Since f a ( e ) is a t most a x ( y ) and f b ( e ) is a t most b x ( y ), f c ( e ) is a t most λa x ( y ) + (1 − λ ) b x ( y ) = c x ( y ). F urthermore, the cost o f the flo w equals X ( x,y ) f c (( x, y )) ℓ ( x, y ) = ℓ ( x, y ) X ( x,y ) ( λf a (( x, y )) + (1 − λ ) f b (( x, y ))) = λ cost uv ( a ) + (1 − λ )cost uv ( b ) ≤ max { cost uv ( a ) , co st uv ( b ) } . Thu s , the c o st function with resp ect to one destinatio n is quasi-conv ex. Since the c ost fo r a pla yer is simply the sum o f the w eighted costs with resp ect to all destinations, the qua s i-con vexit y o f the cost function and, hence, the q uasiconcavit y of the utility function follow. This completes the pro of of the theorem. 4 Uniform G ame s Although non-unifor m ga mes lack stability , the simplest version of the fra mew ork has many int er esting prop erties. W e define a uniform ( n, k )-BBC ga me a s a game in whic h all pre fer ences, costs, and lengths are 1, and ea c h no de has a budget of k links. In other w o r ds, in this gra ph, all the no des a re equally in teres ted in co mm unicating with all o ther no de s , any co nnection can b e established for the same cost, and the utilit y function is calculated using hop coun ts. W e s ho w that a Na s h equilibrium, or stable graph, exists for the unifor m ( n, k )-BBC g ame with any v alues of n a nd k and that a ll sta ble gra phs a re esse n tially fair (all nodes in a stable graphs hav e similar co st). W e also establish near ly tight b ounds on the price of anarch y and price of stability . Although we des cribe a c la ss of stable g raphs, showing that there a re multiple Nash equilibria, we show that no regular gr aph - a gra ph in which all nodes imitate the same configuration of links - can ever b e stable. W e finally provide some initial results ab out the dynamics of non-sta ble uniform gra phs, as individual no des keep changing their links to improv e their co s t. 4.1 Nash equilibria The main res ult of this s ection is the followin g . Theorem 4. F or any n ≥ 2 and any p ositive inte ger k , uniform stable ( n, k ) -gr aphs exist, and in any stable gr aph the c ost of any no de is Θ(1) t imes the c ost of any other no de. The pric e of anar chy is Ω( √ ( n/k ) log k n ) , O ( q n log k n ) (for k ≥ 2 ). The pric e of stability is Θ(1) . T o prov e Theorem 4, we first show fairnes s. Then we describ e a cla ss of stable gr aphs for any k and prov e tha t they are s table. The graphs in this class hav e total cost ranging fro m O ( n 2 log k n ) to Ω( n 2 p n k ). This gives a low er bound o n the price of anarchy and the pr ic e of s tabilit y . Then, we g iv e an upper b ound on the diameter of any stable graph and use this to o bta in an upp er bo und on the price of anar chy . Lemma 1. F airness: In any stable gr aph for the ( n, k ) -uniform game, the c ost of any n o de is at most n + n ⌊ log k n ⌋ mor e than, and at most 2 + 1 /k + o (1) times, the c ost of any other no de. 8 Pr o of. Let G b e a stable graph for the ( n, k )-uniform ga me and let r be a no de in G that has the smallest cost C ∗ . Co ns ider the shortest path tr ee T ro oted at r . Let v b e any other no de. Within ⌊ log k n ⌋ hops from v , ther e exis ts a no de u that ha s a t lea st one edg e no t in T . Since G is stable, no de u has cost at most C ∗ + n , since it can achiev e this cost by a ttac hing one of its links not in T to r . Therefore , the co s t of v is at mo st C ∗ + n + n log k n , s inc e the distance from v to any no de w is at most log k n more than that of u to w . Noting that C ∗ is at lea s t P 0 ≤ i< log k n ik i ≥ ( n − n/k ) ⌊ log k n ⌋ completes the pro of of the lemma. Figure 3: The “F o rest of Willows” stable gr aphs: k sections, e a c h ha s a co mplete k -ary tree of height h . Under ea c h leaf, there is a tail o f length l . The las t no de in each tail has an edge to the ro ot of each tree . The second to last no de of a tail has an edge to the ro ot of eac h tree other than its own. The rest of the tail no des alterna te b etw een po in ting to all the ro ots exc ept their own or all the ro ots except one (arbitrar y , but not its own). In order to give an upp er b ound o n the price of anarch y and the price of sta bilit y , we define a class o f graphs that is stable. W e call this class the “F orest of Willows” graphs (see Fig ure 3). Definition 1. F or est of Wil lows gr aphs: Ther e ar e k dir e cte d, c omplete, k -ary tr e es of height h (r o ote d at no des r 1 , r 2 , . . . , r k ). Each of t hese tr e es has k h le aves. Bene ath e ach le af, ther e is a tail of length l ( l n o des not including the le af ). L et R i b e t he no des in the tr e e r o ote d at r i plus the tails b ene ath this tr e e. The last no de in e ach t ai l has an e dge to t he r o ot of e ach of the k tr e es. The se c ond to last no de of a tail in R i has an e dge to e ach r j , j 6 = i . If a tail no de in R i do es not have an e dge to r i , t he no de ab ove it has an e dge to r i and any k − 2 other r o ots. If a tail no de in R i do es have an e dge to r i , the n o de ab ove it has an e dge to e ach r j , j 6 = i . We c al l this the initial configura tion . This gr aph has n no des, wher e n = k ∗ (2 h +1 − 1 + 2 h l ) . This c an b e extende d to other values of n by adding additional le aves as evenly as p ossibl e acr oss the tr e es. However, for the sake of simplicity, the fol lo wing pr o of of stability assumes that n is of the ab ove form. W e restrict h and l by requir ing: ( h + l ) 2 4 + h + 2 l + 1 < n k 9 By definition of the graph structure, h ∈ O (lo g k n ). Any l (0 ≤ l < 2 p n k ) obey the requirements. Notice that l < 2 p n k implies h > log 2 n 2 − log 2 k 2 − 1. Also notice that the diameter of this gr a ph is Θ ( h + l ), so as k approaches n log 2 n , this class conv erg es to a single g raph: a collection of k co mplete k -ary trees with edges from the leaves to the ro ots. F or ease of notation, we use desc endants of x for a node x ∈ R i to refer to x plus all no des y ∈ R i such that x is on the unique shortest path fr om r i to y . W e use D x to refer to the num b er of descendants of x . Anc est ors of x for x ∈ R i refer to all the no des in the shortest path from r i to x (not including x ). W e use δ x to refer to the nu mber o f ancestors of x (which is the same a s the n umber of hops fr o m r i to x . When x is cle ar from the con text, we use D and δ instead of D x and δ x . Since any node that is δ ho ps b elow some r i is symmetr ic to any other no de δ hops b e low any r j , we only need to cons ide r whether no de s in a single R i (say R 1 ) w ould mov e an y edges. None of the edges that make up the trees or the tails will be moved, or else the gra ph would b ecome disconnected. So we only need to co nsider edges from leaf nodes or tail no des to ro ots (call these non-essent ia l e dges ). With this s ymmetry in mind, we must verify that no no de in R 1 will mov e any of its link s . First, we show for that any no de u in R j , the num be r o f hops from r j to u times the n umber of decendants o f u is smaller than the num b er of no des in R j that are not desce nda n ts of u . In tuitively , this is like isolating a single potential link end point: if a node were to mov e one o f its links from r j to u , the dec r ease to its cost would b e s maller than the increas e to its co st, even if the distance to each no de o nly increa sed by one hop. Next, we show that a no de would never mov e its links to o ne of its own a ncestors o r descendants, and a no de would never place multiple links that hav e a n ancestor/ de s cendan t relationship to each o ther. Once we’v e eliminated the pos sibilit y o f related links, it is a rela tiv ely small step using our initial lemma to show that no no de would ever place its links on non- r oot no des. Finally , we show that the no des would not mov e their links betw een ro ots, co mpleting the pro of that F o rest of Willo ws graphs are s table. The following lemma is used throughout this pro of. Lemma 2. L et u b e a given no de in R 1 . If δ u > 1 , then n k − D u − l ≥ D u δ u . If δ u = 1 , then n k − D u ≥ D u . Pr o of. Case 1: u is a tree no de (so 1 ≤ δ ≤ h ). Here, regar dle s s of the v alues of h and l : if δ > 1 : D = n k δ +1 − δ X i =1 1 k i < n k δ +1 n k − D ( δ + 1) − l > n ( 1 k − ( δ + 1) k δ +1 ) − l ≥ n k 2 − l if k ≥ 3, since δ ≥ 1 > 0 since ther e are k sections with at least k tails per section. and n k − D ( δ + 1) − l > n ( 1 k − ( δ + 1) k δ +1 ) − l ≥ n 8 − l > 0 s inc e h ≥ 3 if δ = 1 : D = n k 2 − 1 k n k − 2 D = n k − 2 n k 2 + 2 k = n (1 − 2 k ) + 2 k > 0 Case 2 : u is a tail no de. D = h + l − δ + 1 n k − D ( δ + 1) − l = n k + δ 2 − ( h + l )( δ + 1) − l − 1 10 The second deriv ative with r espect to δ is p ositive, so we only need to check this a t the p oint where d dδ = 0 (a minima). δ = h 2 + l 2 D = h 2 + l 2 + 1 n k − D ( δ + 1) − l = n k − ( h + l ) 2 4 − h − 2 l − 1 > 0 b y our restrictions on h and l Lemma 3. If no de x ∈ R 1 b enefits by moving any of its non-essent ia l e dges to one of its desc endants, and if u 1 is the closest su ch desc endant, then x wil l also b enefit by moving this e dge to another no de (distinct fr om u 1 ) that is δ u 1 hops fr om a r o ot. Pr o of. Supp ose x placed at least one of its no n-essen tial edges at no de u 1 , a descendant of x . Supp ose the k − 2 other non-ess e n tial edg es were placed at no des u 2 , u 3 , . . . u k − 1 , and if any o ther u j is also a descendant of x , then δ u j > δ u 1 . The total decrease in hop count by moving the edges from our or ig inal placement is a t most P k − 2 j =1 ( D u j δ u j ) − D u 1 δ x (since the sum counts all of the descendants of u 1 as having a decre a se of δ u 1 , but they actua lly o nly decreased b y δ u 1 − δ x ). The total increase in hop count is at least ( k − 1) n k − P k − 1 j =2 ( D u j ) − D x (since ea c h of these non-ess e n tial edges used to p oin t to a ro ot, and the dista nce to a ll the descendants o f these ro ots that are no t also descendants of x or one of the u j will no w increase b y at least one hop.) By moving to another no de δ u 1 hops b elo w a ro ot (that is not an ancestor or descendant of x o r of any of the other u j ), the total decrease in hop count will incre a se b y at least D u 1 δ x . Meanwhile, the increase in hop count can only get low er. Ther efore, if x would make the previous mo ve, x would also make the new mov e. Lemma 4 . If n o de x ∈ R 1 b enefits by m oving any of its non-essential e dges to one of its anc estors, u 1 ( u 1 6 = r 1 ), then x wil l also b enefit by m ov ing this e dge to another no de δ u 1 hops fr om a r o ot. Pr o of. Supp ose x placed at least one of its non-e ssen tial edges at no de u 1 , an a ncestor of x . Supp ose the t − 1 other no n-essen tial edges were placed at no des u 2 , u 3 , . . . u t ( t may b e k − 1 or k , dep ending on the lo cation of x ). By Lemma 3, we can ass ume none of u 2 , . . . u t is a des c e ndan t o f x . The total decrease in hop count by moving the edges from our or ig inal placement is a t most P t j =1 ( D u j δ u j ) − D x δ u 1 (since the sum c o un ts a ll of the descendants of u 1 as ha ving a decrease of δ u 1 , but actually the de- scendants of x did not decrease at a ll). The tota l increase in hop coun t is a t least tn k − P t j =1 ( D u j ) (since each of these non-ess e n tial edges used to p oint to a r oot, and the distance to all descendants of these ro ots that a re not also descendants of one of the u j will no w increase b y at least one hop.) By moving to another no de δ u 1 hops b elo w a ro ot (that is not an ancestor or descendant of x o r of any of the other u j ), the total decrease in hop count will incre a se b y at least D x δ u 1 . Meanwhile, the increase in hop count can only get low er. Ther efore, if x would make the previous mo ve, x would also make the new mov e. Lemma 5. I f x wil l b enefit by m ov ing any two of its non-essent ia l e dges to no des, { u 1 , u 2 } ∈ R 1 , such that u 1 is an anc estor of u 2 , then it wil l also b enefit by moving to a n o de δ u 1 hops b elow r 1 and a no de δ u 2 hops b elow r 1 (neither of which is an anc estor or desc endant of x or of any other u j ). Notice there will a lways exist tw o such nodes b ecause there ar e k branches of each tree and at most k non-essential edges, and u 2 m ust be at least 2 hops below a r oot, wher e there are k 2 branches (so we can alwa ys a void an ancestor o r descendant of x as well). 11 Pr o of. Supp ose x plac ed t wo of its non-essential edges at no des { u 1 , u 2 } such that u 1 is a n ancestor of u 2 . Suppo se the other non-essential edges were placed at no des u 3 , u 4 , . . . u t (none of which is an ancesto r or descendant of x ). Also assume there is no u j on the shor test path from u 1 to u 2 . The total decrease in hop count by moving the edges from our or ig inal placement is a t most P t j =1 ( D u j δ u j ) − D u 2 δ u 1 (since the sum counts all of the descendants of u 2 as having a decrease o f δ u 2 , but a ctually the decrease was only δ u 2 − δ u 1 ). The total increase in hop co un t is at least tn k − P t j =1 ( D u j ) + D u 2 − D x (since each o f these non-es sen tial edges used to point to a ro ot, and the distance to all nodes that are descendants of these r oots but not of x or one of the u j will now incr ease by at least one ho p.) By changing the move as sugg ested in this lemma, the to tal decrease in hop co un t will incr ease by a t least D u 2 δ u 1 . Mea n while, the increa s e in hop count c an only get lo wer. Therefor e , if x would ma k e the previous mov e, x would als o make the new mo ve. Lemma 6. F or est of Wil lows gr aphs ar e s table . Pr o of. Consider any p ossible selections of no n-essen tial edges for a no de x ∈ R 1 . Supp ose t o f these, { u 1 , u 2 , . . . , u t } , are mov ed aw ay from the ro ots they p oin t to in the initial c o nfiguration (to nodes a t least one ho p below a ro ot). Also assume that no u i is an ancesto r or descendant of x o r of any other u j (w e can ma k e this assumption becaus e of Lemma 3, Lemma 4, and Lemma 5). Then, some no des in each of t trees will get at least one hop further a way fro m x . D u i no des will g et δ u i hops closer (for all u i ). D x ( ≤ l ) no des will stay the same dista nc e . The change in tota l hop co un t is a t lea st the total increase minus the total decrease. change in total hop count ≥ nt k − t X i =1 D u i − l − t X i =1 D u i δ u i = nt k − t X i =1 D u i ( δ u i + 1) − l = t X i =1  n k − D u i ( δ u i + 1)  − l ≥ 0 if ∃ i such that δ u i > 1, b y Lemma 2 When δ u i = 1 for all i , we m ust consider t wo case s . Case 1: x ∈ R 1 do es not hav e an edge to r 1 in the initial config uration (or does not mov e this edge). In this case, the total increa se is at least nt k − P t i =1 D u i . (The − l is no t there, b ecause x is not lo cated under a ro ot that increases.) This gives a c hange in tota l ho p coun t ≥ nt k − P t i =1 D u i ( δ u i + 1) > 0 (by the δ = 1 condition in Lemma 2). Case 2: x ∈ R 1 has an edg e to r 1 in the initial configur ation and moves this edge. All of the no des u i are 1 ho p b elo w r oots, and none is an ances to r of x . There is a single no de, u 1 , that is 1 hop from r 1 that is an ancestor of x : the distance to eac h of the descendants of u 1 that are not also des cendan ts of x (at le ast D u 1 + 1 − l nodes) will increase by at least 2 ho ps ( x cannot be the second to last node in a tail b ecause it had an e dge to r 1 . If x is the la st no de of a tail, then the new distance to r 1 is at lea st h − 1. If x is at least 2 hops from the end o f a tail, then there are at lea st 2 hops to the closest node p oin ting to r 1 ). Therefore, the tota l increas e in trees o ther than R 1 is at least n ( t − 1) k − P t − 1 i =1 D u i , a nd the inc r ease in R 1 12 is a t least 2( D u 1 + 1 − l ). This gives the following total c hang e in hop co un t. change in total hop count ≥ n ( t − 1) k − t − 1 X i =1 D u i ( δ u i + 1) + (2 − δ u 1 ) D u 1 + 2 − 2 l = t − 1 X i =1  n k − 2 D u i  + D u 1 + 2 − 2 l ≥ 0 b y Lemma 2 and the fact that D u 1 includes a t least 3 tails (when δ u 1 = 1) as lo ng as k > 1 a nd h ≥ 3 . Therefore, x do es no t hav e incen tive to mov e any of its non-essential edges to no des other than ro ots. Finally , w e m ust verify that x has no incentiv e to mo ve an edge from one ro ot to another. Case 1 : x ∈ R 1 has edges to all roo ts except r 1 in the initial config uration. In this ca se, consider what would happ en if x moved an edge from so me ro ot r j to r 1 . The distance to descendants of r 1 but not o f x would decrea se by a t mos t 1 ho p, since the no de b eneath x in the tail alrea dy has a n edge to r 1 . This is a decrea se of at most n k − 2 ( x has only k − 1 non-essential edges, so at least x and one no de b elo w it keep the same distance). Mea n while, the distance to all the descenda nts of r j will increase by at least one ho p. This gives an increase of at least n k . Since the increas e is always la r ger than the decrease, there is no incen tive for this mov e. Case 2 : x ∈ R 1 has edges to all roo ts except some r j ( j 6 = 1 ) in the initial config uration. In this case, first consider wha t would happ en if x mov ed an edge fr om r 1 to r j . The dista nce to descendants of r 1 but not of x (at lea st n k − l no des) would incr ease by at least 2, since it is 2 ho ps to another no de with an edge to r 1 . So ther e is a n increase of at least 2 n k − 2 l . The distance to the n k descendants o f r j would decrease by 1 hop, since the no de benea th x already po in ts to r j . So the decrea s e is at most n k . The increase is a lw ays la rger than the decrease, s o there is no incentiv e for this move. Next conside r what would happ en if x moved a n edge fr o m some r g 6 = r 1 to r j . The distance to the n k descendants o f r g would increase by 1 hop, while the dista nce to the n k descendants o f r j would decrease by 1 hop. Therefore, this move do es not make a n y difference to x , so x has no incent ive to mov e. Lemma 7. The diameter of any uniform st abl e ( n, k ) -gr aph ( k ≥ 2 ) is O ( p n log k n ) , and ther e is at le ast one no de whose distanc e to any other no de is O ( √ n ) . Pr o of. Let G b e a stable gra ph for the ( n, k )-uniform game, and let ∆ deno te the diameter of G , given by a path from a no de r to a node v . Cons ider a sho rtest path tr ee from r ; so the depth of this tree is ∆ and v is a leaf of T . Let P denote the set of nodes on the path from r to v in T , not counting r ; so | P | = ∆. Let C be the sum of distances from r to the n − ∆ nodes no t in P . The sum of distances fro m r to the ∆ no des in P is exa ctly ∆(∆ + 1) / 2. So the cost o f r is C + ∆(∆ + 1) / 2. The cost of v is at most C + n − ∆ / 2 + ∆(∆ / 2 + 1) / 4 + ∆(∆ / 2 + 1 ) / 4 since v can use one of its a t least tw o edges to co nnec t to r and the other to connect to a no de halfwa y alo ng the path from r to v . Simplifying, we obtain that the cost of v is at most C + n + ∆ 2 / 4. By Lemma 1, the cost of v is at least C + ∆(∆ + 1) / 2 − n − n log k n . W e thus obtain the inequalit y: C + n + ∆ 2 / 4 ≥ C + ∆(∆ + 1) / 2 − n − n lo g k n, yielding ∆ = O ( p n log k n + 2 n ). Using the fact that the cost of v is at least C (in place of the reference to Lemma 1) in the a bov e pro of gives the second par t of the le mma. Pr o of of The or em 4: The first claim directly follows from Lemma 1. In any gr aph with ma x degr e e k , every no de must hav e c ost at least Ω( n log k n ). F orest of Willows graphs with l = 0 have total co st p er no de O ( n log k n ). Therefor e, the price of stabilit y is Θ(1). 13 If l = 0, a F or est of Willows gra ph has tota l co st p er no de = O ( n lo g k n ). Therefore, the so cial utility ha s total c o st (ov er a ll no des) O ( n 2 log k n ). If l = Ω( p n k ), the total co st (ov er a ll no des) is Ω( n 2 p n k ). Therefor e, the price of anar c hy is Ω( √ ( n/k ) log k n ). Finally , Lemma 7 implies that the tota l cost of any no de in the worst Nash equilibium cannot b e higher than O ( p n log k n ), so the total cost is O ( n p n log k n ). W e alre a dy know that the so cial equilibrium is a t least O ( n log k n ). Therefor e, the price of anarch y is O ( q n log k n ). 4.2 Stabilit y of r egula r graphs In the context o f ov er la y o r peer-to -peer netw ords, a natura l degree- k graph to co nsider is to map the no des to Z n = { 0 , 1 , . . . , n − 1 } and have the k edges for all no des b e defined by k offsets a i , 0 ≤ i < k : the i th edge from no de x go es to x + a i mo d n . W e refer to such graphs as r e gular gr aphs . F or a suitable choice of the offsets, these graphs have diameter O ( n 1 /k ). In this section, we study Ab elian Cayley graphs , a more genera l class that includes regula r gr aphs. W e show that these gr aphs are not stable for k ≥ 2. Cayley graphs ha ve bee n widely studied by mathematicians and computer scient is ts , and aris e in several applicatio ns including expanders and interconnection net works (e.g., see [2, 3, 8]). A Cayley gr aph G ( H , S ) is defined by a g roup H and a subset S of k elements o f H . The elements of H form the no des in G , a nd w e hav e a n edge ( u, v ) in G if and only if there ex ists an element a in S such that u · a = v , where · is the gr o up op eration. A Cayley g raph G ( H , S ) is refer red to a s an Ab elian Cayley g raph if H is Ab elian (that is, the op eration · is commutativ e). The regula r gra ph describ ed in the preceding paragr aph is exa ctly the Cayley graph with the group H b eing the Abe lia n additive group Z n and S = { a i mo d n : 0 ≤ i ≤ k } . W e prov e that no pure Na sh equilibria exist in Ab e lian Ca yley gr aphs, us ing a particular embedding of these g raphs into k -dimensional grids. Let G ( H, S ) b e a given Ab elian Cayley gra ph and let the k elements of S be a i , 0 ≤ i < k . W e assume without lo ss of generality tha t S do es not contain the iden tity of H since these edges only form self-lo ops, which clearly cannot b elong to any stable graph. Each edge of the graph G can be labe led by the index of the elemen t of S that c r eates it; that is, if v = u · a i , then w e call the edge ( u, v ) an i -e dge . The edge lab els naturally induce lab els on paths as follows. If a path co n tains x i i -edges, then we label the path by the vector ~ x = ( x 1 , . . . , x i , . . . , x k ). Note that the length of a path with lab el ~ x is simply P 1 ≤ i ≤ k x i . F urthermor e, the commutativit y of the underlying group oper ator implies that for all no des v and all path lab els ~ x , ev er y path that sta r ts from v and has lab el ~ x ends at the sa me no de. W e say tha t no de v ha s labe l ~ x if there exists a sho r test pa th from r to v that ha s labe l ~ x . F or an y no de v , while t wo shortest paths from r to v share the same sum o f lab e l-coor dinates, the actual path la b els ma y be different; therefore, a no de may ha ve m ultiple lab els. How ever, a particular lab el is assig ned to a t mo st one node. W e next pr o ve that for k ≥ 2 no Ab e lian Cayley graph is s ta ble. F or k = 1, it is trivial to see that the simple directed cy c le is an Ab elian Cayley graph and is stable. Theorem 5. F or any k ≥ 2 , n o A b elian Cayley gr aph with de gr e e k and n no des is stable, for n ≥ c 2 k , for a suitably lar ge c onstant c . Pr o of. W e no w consider the impact of r eplacing the i -edge from r oot r to r i = r · a i by the e dg e from r to r ′ i = r · a i · a i . The no de r equals (0 , 0 , . . . , 0 ), while the no de r i equals (0 , 0 , . . . , 1 , . . . , 0 ) with a 1 in the i th co ordinate. (W e note that r and r i are distinct since a i is not iden tity .) F or e very no de v that has a lab el ~ v such tha t v i ≥ 2, the distance decreases by 1. Let S i = { v : v has a la b el ~ v with v i ≥ 2 } b e the set o f s uc h no des. On the other ha nd, the only no de whose dista nc e from r increase s is the no de r i ; this is b ecause any path in the orig inal gr aph starting from r , having exactly one i - edge ( r, r i ) and having length at least tw o, can be substituted by another path of the same length with an i -edge a s its second edge. W e b ound the increase in the distance from r to r i in terms of the dia meter ∆ of the gr aph. Let w = r · a − 1 j 6 = r i denote a no de that has an edge to r in G . Since the shor test path to any v er tex other than r i has not incr eased, the distance from r to r i is a t most ∆ + 2 , given by a shortest path fro m r to w , 14 follow ed by an i -edge and then b y a j - edge. Thus, when the edge ( r, r i ) is r eplaced b y the edge ( r, r ′ i ), the total utilit y for node r decreases by at least | S i | − (∆ + 2). By the definition of S i , this is precisely the se t G \ [ 0 ≤ i 4 , the 2 k -no de hyp er cub e is not stable for the (2 k , k ) -uniform game. If the degr ee k is more than nearly half the size of the graph, then an y degre e - k n -node Ab elian Ca yley graph is sta ble. Lemma 8. F or al l k > n − 2 2 any de gr e e- k n -n o de Ab elian Cayley gr aph is stable. 4.3 Dynamics of b est resp onse w alks Given the existence of pure Nash equilibria for ( n, k )-uniform g ames, it is natur a l to a sk whether an equil- brium can b e o btained by a sequence of lo cal links changes. In pa rticular, we consider a s pecific type of bes t resp onse walk: in each step, a node tests for its stabilit y a nd, if it is not stable, mov es its links to the set of no des that optimize its cos t. W e ass ume for con venience that only one no de a ttempts to c hang e its links in any step of the b est r esponse walk. W e first show that, sta rting from a ny initial state, the b est r esponse walk conv erge s to a strongly connected graph in O ( n 2 ) steps, as lo ng as ev er y node is allow ed to execute a b est resp onse step o nce every n steps. F urthermore, there exists a n initial state such that a b est resp onse w alk takes Ω( n 2 ) steps to conv erg e to strong connectivit y . W e next study con vergence to stability and show that there exists an initia l state from which a pa rticular b est res ponse walk do es not converge to a stable graph. This means that the ( n, k )- uniform ga me is not an or dinal p otential game , a characteristic which justifies our use of a constructive pr oof for the exis tance of Nash e quilibria. Con vergence to a strongl y connected graph . F or a given no de u , w e define the r e ach o f u to b e the nu mber of no des to whic h it has paths. Since the cost of disconnection is assumed to be M > n , when we execute a b est-resp onse step for a no de u , the rea c h of u cannot decr ease. Lemma 9. Su pp ose the gr aph G is not str ongly c onne cte d, and a no de u changes its e dges ac c or ding t o a b est r esp onse st ep. Then, after the step, the r e ach of any no de other than u either r emains the same or is at le ast the new r e ach of u . Pr o of. If a node v has a path to u , then the reach of v is at least the reach of u after the best r esponse step. Otherwise, the reach of v do e s not c hange. The ab o ve lemma indicates that whenever a b est resp onse step ca uses a change, the vector that co nsists of all the reach v alues in increasing order becomes lexico graphically lar ger. In orde r to show conv erg ence, we need to argue prog ress. W e will do so by showing that whenever the graph is not s tr ongly c o nnected, there exists a no de tha t ca n improve its reach. In fact, w e use a stro ng er prop ert y that allows us to bound the con vergence time. Consider b est r esponse walks that ope r ate in a round-robin ma nner . In eac h round, each no de (one at a time in an arbitr ary order) executes a b est r esponse step. The or der may v ary from ro und to round. Let G r refer to the graph be fo re round r . Lemma 10. If G r is not str ongly c onne cte d at the st art of r ound r , then the minimum r e ach incr e ases by at le ast one during the r oun d. 15 Pr o of. Consider the strongly connected comp onen ts of the given g raph G r . Consider the comp onen t gra ph C G in which w e hav e a vertex for ea c h strong ly connected comp onent and edge b et ween t wo comp onen ts whenever there is an edge from a vertex in one comp onen t to the other. This g raph is a dag. Let m denote the minim um reach in G r . By Lemma 9, no des with r eac h greater than m will contin ue to hav e reach gr eater than m . So w e only nee d to consider nodes with reach m . All of these no des lie in sink comp onen ts. Consider any sink compo nen t C . W e first argue that ther e exists a no de in C that can improve its reach by executing a b est resp onse s tep. Consider a v ertex u in C that has a n edge from a vertex v in another comp onen t. Let w b e a vertex in the sink co mponent tha t has an edge to u . All of u , v , and w exist by definition of strong ly connec ted comp onen ts (and our assumption that the o ut-degree of every vertex is at least 1). If w replaces the edge ( w , u ) with ( w, v ), it ca n r eac h a ll vertices in the sink co mp onent as well as the co mponent containing v . The la tter set is cle ar; for the former set, note that a ll we have done is ”replace” the direct edge ( w, u ) by the tw o-ho p path w → u → v . F or any sink comp onen t C , let v be the fir st no de in C in the ro und order that improv es its reach through a b est resp onse step. Note that v exists by the a r gumen t of the preceding par agraph. F ur thermore, in the step prior to v ’s b est resp onse, the r eac h of every no de in C is m . After v ’s b est resp onse, the r eac h of v increases to at least m + 1 , as doe s that of every no de in C , since they each hav e a path to v . By Lemma 9 , after every subsequent step, the reach o f an y no de in C is at least m + 1. Therefore, it follows that at the end of the round, the rea c h of every no de in a sink compo nen t of C G incr eases; hence, the minim um rea c h increases, completing the pro of o f the lemma. Theorem 6. The b est r esp onse walk c onver ges to a st r ongly c onne cte d gr aph in n 2 steps. Pr o of. By Lemma 10, the minim um rea c h increas e s by a t least one. Since the initial reach is 1 and the maximum re ac h is n , the num b er of steps for the b est res ponse walk to conv er ge to a strong ly connected graph is a t most n 2 . The ab o ve theorem is essentially tight. In the following s cenario (with k = 1), a b est resp onse walk may take Ω( n 2 ) steps to con verge to a strong ly connected gra ph. Consider a g raph G of n = r + p no des that is a directed ring over r ≥ n/ 2 no des together with a direc ted path of p = n − r no des that ends a t one of the no des in the ring . Supp ose a r ound b egins at the tail T o f the dir ected path, which can reach all no des, pro ceeds along the pa th and then alo ng the ring in the direction of the ring . The p no des on the path cannot improv e their reach. F ur thermore, the first r − p no des on the ring (in r ound-robin or der) also ca nnot improv e their reach in a be s t r esponse step. The ( r − p + 1)st no de can improv e its r eac h b y connecting to T , yielding a new graph G ′ that is a dir ected r ing o ver r + 1 no des and a directed path of n − r no des. If we rep eat this pro cess, the num b er of steps to converge is Ω( n 2 ). Cycles in b est resp onse w alks . Unlike str ong co nnectivit y , conv erg e nc e to a pure Nash equilibrium is not gua ran teed. In the following simple example, a r ound-robin b est-resp onse walk contains lo ops. This simple example is a (7,2)-uniform game that starts from the top-left configura tion of Figur e 4. The nodes take turns in ro und-robin order , starting with no de 6 then no des 0,1,2, a nd so o n. T racing the example, one can verify that after 6 dev iations (no des 6 , 3 , 2 , 6 , 3 , 2 re-linking in this or de r , implying that missing no des are stable), the gra ph returns to the initial configuratio n th us completing a lo op. The ab o ve example o f a lo op in the b est resp onse walk shows that the uniform-( n, k )-game is not an ordinate p oten tial ga me. Howev er, the lo op do es not rule out the p ossibilit y that either (a) a well-c ho sen bes t r esponse walk co n verges from any initial state, or (b) certain b est resp onse walks do co n verge to stability if started fro m simple initial configurations s uc h as the empty gra ph. W e hav e observed exp erimen tally that b est res ponse walks in which a no de with the maximum cost alwa ys ma k es the next bes t resp onse step doe s not always conv erge to a sta ble gra ph. Howev er, based on our exp erimental da ta, this be s t resp onse w a lk s tarting from an empt y gr a ph do es seem to converge to a stable graph. Our exper imen ts also sug gest that there ma y be so me exp onent ia lly long best-r esponse paths that start in some non-empty initial configuratio n and end at a stable gr aph. 16 5 Max distance utilit y fun ctio n In the BBC games we hav e studied thus far , the utilit y of a no de u in G ( S ) g iv en b y − P v w ( u, v ) d ( u, v ), where d ( u, v ) is the shortest path from u to v in G ( S ) a ccording to the lengths g iv en b y ℓ . W e have also considered a natur al v ariant of the utility function: the utility of u is − max v w ( u, v ) d ( u, v ). In order to ma ke it clear tha t w e ar e using a different cost function, w e will call the max distance v er sion BBC-max games . As with the previo us cost function, we show there exist instance s of the genera l BBC-max ga me that hav e no Nash equilibr ium. If we r estrict ourselves to the uniform version (uniform ( n, k )-BBC-max ga me), there is a stable gr a ph for any n and k < n . It turns out tha t ratio b et ween the total utilit y ac hieved in a Nash equilibrium in a uniform BBC- ma x ga me and the so cial optim um co uld be m uch w or se than in BBC games. In particular , we establis h a low er b ound of Ω( n k log k n ) on the price of anarch y in BBC-max games. Theorem 7. F or al l n ≥ 16 , k ≥ 1 , ther e exists a nonuniform BBC-max game with n no des, uniform link c osts, uniform link lengt hs, and a uniform budget of k for every no de, such that the game has no pur e Nash e quilibrium. F urthermor e, it is NP-har d to determine whether a given nonu nifo rm BBC-max game instanc e is a N ash e quilibri u m . Pr o of. Figure 5 depicts a mo dified version of the ga dget of Figur e 1, in which the following have be e n added: 0L T is linked to the (previously not depicted) “s ink” no de 0S; the sink is linked to tw o new no des, the second of whic h connects to 0C. Similar additions apply to gadget1 but are not depicted. As in Theorem 1, so lid lines c a n b e implemented by setting the preferenc e of the source no de fo r the destinatio n no de to a p ositive v alue and zer oing out its preference for all other no des. The central “switch” at no de 0C can be implemented as in Theo rem 1. The b ottom switc h, say of no de 0RB, can b e implemen ted b y setting w 0 RB , 0 S = w 0 RB , 0 C = a > 0, and zeroing out all other preference v alues for 0RB. This wa y , if edge (0C,0L T) is not implemented, 0RB will connect to 0S, b ecause this gives it a cost of a · 4 (gets 0S with 1 hop, and thro ugh it, 0C with 4 hops), which is minimal among all its other optio ns (co nnecting to 0C would make its cost a · M ; connecting to 0L T would make it a · 5). If now edge (0C,0L T) is implemen ted, then 0RB will co nnect to 0C and ac hieve a minim um cost o f a · 3 g iv en by the dia meter 0RB → 0C → 0L T → 0S (connecting to 0RB would cost a · 4 and to 0 L T a · 5). This assignment o f weigh t g iv es r ise to the lo oping describ ed in Theorem 1, therefore proving the current theorem. Theorem 8. The Pric e of Anar chy for u nif orm ( n, k ) BBC-max games is Ω( n k log k n ) . Pr o of. Consider the following gr a ph for k > 2. There ar e 2 k − 1 tails , { t 1 , t 2 , . . . , t 2 k − 1 } , each of length l = n − 1 2 k − 1 . There is als o one “ro ot” node r with edges to the top no de in t 1 , t 2 , . . . , t k . F o r ease of nota tion, we will define segment s S 1 = { r , t 1 , t 2 , . . . , t k } , S 2 = { t k +1 } , S 2 = { t k +2 } , . . . , S k = { t 2 k − 1 } , with the hea d of ea ch segment S i ( i > 1) = the first no de of the tail, and the head of S 1 = r . The last node of each tail po in ts to the head of each segmen t. The rest of the no des in each tail po in t to r and to the last no de of a tail. The loca tio n of the rest of the edges do n’t matter . See Figure 6. W e will show that this graph is a Nash e quilibrium. First consider whether a no de at the end of a ta il w ould b enefit b y moving a n y of its edges. Its c ur ren t max dis ta nce = 2 + l (to a no de at the end of t 1 , t 2 , or t 3 ). If it do es not hav e o ne edge to each segment, then the max distance is at least 2 + l (since it takes at least one ho p to g et to a no de that will p o in t to the segment, and all other no des that p o in t to the segment p oin t to the he a d). If the one edge po in ting to some s egmen t does not p oint to the head of the segment, the max distance is 1 (to get to the segmen t) + the distance to the end o f the tail + 1 (to get to the head) + the dis ta nce back to where it started = 2 + l . Next, co nsider whether a no de in the middle of a tail would be ne fit by moving a n y o f its edges. Its current max distance = 2 + l (the sa me distance to the end of any tail other than the tail it lives in). In order to get closer to the end of every other tail (since all a re currently the same max distance), it would need to po in t closer to the middle of each tail. F or segments S 2 , . . . S k (other than its own seg men t), this would b e poss ible by p oin ting an edge to the head of each segment (or anywhere within the segment). In order to shorten all of these distances, at least k − 2 edges must b e used. Howev er, the only w ay to reduce 17 the distance to nodes in S 1 would b e to p oin t an edge to ea c h of the k tails within the segment (or to k − 1 edges if this no de lives in S 1 ). There a re not enough edges to improv e distances to S 1 and to all other tails. Therefore, this no de cannot impr o ve its utilit y . This example can b e extended to the case where k = 2 with a small adjustment . In this c a se, there are 3 paths plus one no de that points to the head of tw o of the paths. The nodes at the end of each path point to the ro ot of the single path and the extra node. The second to last nodes in the other paths p oin t to the extra node. The rest of the no des in the other paths p oin t to the e nd of a tail. In the F or est of Willows graphs describ ed in Section 4.1, when l = 0 the sum of the max distances = O ( n log k n ). Therefor e , the so cial optim um co st is at most O ( n log k n ). W e hav e just shown that ther e is a graph with the sum of the ma x distances = Ω( n 2 k ). Therefor e , the Price of Anarch y is Ω( n k log k n ). Theorem 9. The Pric e of St ab ility for uniform ( n, k ) BBC-max games is Θ(1) . Pr o of. It is eas y to verify that the F orest of Willo ws gr aphs with l = 0 (describ ed in section 4.1) are also stable under the max c ost function. Obviously , no node can hav e max dis tance less than log k n . T her efore, the socia l optimum is at most O ( n lo g k n ), and the b est Nash is a t least Ω( n log k n ), so Price of Stability is Θ(1). References [1] Susanne Alb ers, Stefan Eilts, Eyal Even-Dar, Yisha y Manso ur, a nd Liam Ro ditt y . On Nash e quilibria for a netw o r k creation game. In Pr o c. of SODA ’06 , page s 89–9 8, New Y ork, NY, USA, 20 06. ACM Press. [2] N. Alon and Y. Roic hman. Random Cayley g raphs and expanders. RSA: R andom S tructur es & Algo - rithms , 5, 19 94. [3] F. Annexstein, M. B aumslag, and A. L. Ros en b erg. Group a ction gr aphs and pa rallel architectures. SIAM Journal on Computing , 19:544– 569, 1990. [4] Elliot Anshele v ic h, Bruce Shepherd, and Go r don Wilfong. Strateg ic netw ork forma tion throug h p eering and s ervice ag reemen ts. In Pr o c. of IEEE FOCS ’06 , pages 77–86, W a shington, DC, USA, 2006. [5] V enk atesh Bala and Sa njeev Goyal. A nonco op erative mo del of netw ork for mation. Ec onometric a , 68(5):118 1–1229, 200 0. [6] Shishir Bhar athi, David Kemp e, and Mahy ar Salek. Comp etitiv e influence ma ximization in so cial net works. In WINE , pag es 306– 311, 20 07. [7] Byung- Gon Chun, Ro drigo F ons eca, Ion Sto ica, and J ohn Kubiatowicz. Chara cterizing selfishly con- structed o verlay ro uting netw orks. In Pr o c. of IEEE INFOCOM’0 4 , Hong Kong, 2004. [8] G. Co operma n, L. Finkelstein, and N. Saraw agi. Applications of Ca y le y graphs. In AAECC: Applie d Alge br a, A lgebr aic Algorithms and Err or-Corr e cting Co des . LNCS, Spring er-V er lag, 1990 . [9] Jaco mo Corb o and David C. Parkes. The price of selfish b eha vio r in bilatera l netw ork formation. In Pr o c. of PODC’05 , pages 99–107 , 2005 . [10] Er ik D. Demaine , Moha mmadT aghi Ha jiaghavi, a nd Hamid Mahini. The Price of Anarch y in Netw ork Creation Ga mes In PODC , pages 292-29 8 , 2007. [11] Eyal Even-Dar and Michael Kea rns. A s mall w o rld threshold for econo mic netw ork forma tio n. In NIPS , pages 3 85–392, 2006 . [12] Eyal Even-Dar, Michael Kear ns, and Siddhar th Suri. A Netw o r k F ormatio n Game for Bipar tite Ex- change Economies In SODA , pages 697-70 6, 2007. 18 [13] Alex F abrik ant, Ankur Luthra, E litza Manev a, Chr istos H. Papadimitriou, and Scott Shenker. On a net work cr eation game. In PODC ’03 , pages 347–35 1, New Y or k, NY, USA, 2003. ACM P ress. [14] J. F eigenbaum, C. Papadimitriou, R. Sami, and S. Shenker. A BGP -based mechanism for low est-cost routing. In PODC , 2 002. [15] Y air Halevi and Yishay Ma nsour. A Netw ork Creation Game with Nonuniform Interests. In W INE , pages 2 78-292, 200 7. [16] P . E. Haxell and G. T. Wilfong . A fractional model of the bor der gateway pr otocol (BGP). In SODA , pages 1 93-1999, 2008 . [17] Matthew Jackson and Asher W olinsky . A stra tegic mo del of so cial and economic netw o rks. J ou r n al of Ec onomic The ory , 71:44–7 4, 1996 . [18] Rames h Joha r i, Shie Ma nnor, and John N. Tsitsiklis. A contract-based mo del for directed netw ork formation. Games and Ec onomic Behavior , 56(2):20 1–224, 20 06. [19] David K empe, Jon M. Kleinberg, and ´ Ev a T ardos. Maximizing the spread of influence through a so cial net work. In KDD , pa ges 137–1 46, 2 003. [20] David K empe, Jon M. K lein b erg, and ´ Ev a T a rdos. Influential no des in a diffusion mo del for so cial net works. In ICALP , pa ges 1127– 1138, 2 005. [21] Elia s Koutsoupia s and Christos Papadimitriou. W ors t-case equilibria . In ST ACS ’99 , pag es 404– 413, March 1999. [22] Nikolaos Laoutaris , Geor gios Smara g dakis, Azer Bestavros, and John Byers. Implica tions o f selfish neighbor s election in ov erlay net works. In Pr o c. of IEEE INF OCO M ’07 , 2007. [to app ear]. [23] Ev ang elos Mark akis and Amin Sab eri. O n the cor e of the multicommodity flow g ame. In Pr o c. of the 4th ACM c onfer enc e on Ele ctr onic c ommer c e , pages 93–97 , New Y o rk, NY, USA, 2003. ACM Pr ess. [24] Thoma s Mos cibroda, Stefan Schmid, and Roger W attenhofer. On the top ologies for med by selfis h p eers. In PODC ’06 , 2006. [25] M.J. Osb orne a nd A. Rubinstein. A Course in Game The ory . MIT Press, 1994. [26] Chris tos Papadimitriou. Algo r ithms, games, and the Int er net. In S TOC ’01 , pages 749–7 53, New Y ork, NY, USA, 200 1. ACM Press. 19 0 1 2 3 4 5 6 (11) (12) (10) (11) (11) (11) (10) node 6 rewires to [0 2] 0 1 2 3 4 5 6 (11) (11) (10) (12) (11) (10) (11) node 3 rewires to [5 6] 0 1 2 3 4 5 6 (11) (11) (11) (11) (11) (10) (10) node 2 rewires to [0 3] 0 1 2 3 4 5 6 (11) (12) (10) (11) (11) (10) (10) node 6 rewires to [2 5] 0 1 2 3 4 5 6 (11) (11) (10) (12) (11) (10) (11) node 3 rewires to [0 6] 0 1 2 3 4 5 6 (11) (11) (11) (12) (11) (10) (10) node 2 rewires to [3 5] Figure 4: An example in w hich a ro und-robin b est-resp onse walk lo ops. Starting from the to p left c on- figuration a nd following a r ound-robin best-r e sponse walk 6 → 0 → 1 → . . . → 6 → 1 . . . we get back to the initial configur a tion after 6 deviations (no des 6 , 3 , 2 , 6 , 3 , 2 ). T ur ns that a r e not illustrated imply sta ble no des. Nex t to each no de we indicate its cost under the current configura tio n. 20 0L T 0R T 1L T 1R T 0LB ORB OS 1LB 1RB 0C 1C Figure 5: Mo dified gadget - cons is ting of t wo subgadg ets Figure 6: A high cost Nash equilibr ium for the max distanc e cost function: 2 k − 1 pa ths, one node p oin ts to k of them. Each no de at the end of a path po in ts to the start of the first k − 1 paths and the extr a node. Each no de in a pa th p oints to the no de at the end of the pa th a nd to the extra no de. The rest of the edge don’t matter. 21

Original Paper

Loading high-quality paper...

Comments & Academic Discussion

Loading comments...

Leave a Comment